认识球磨机与砂磨机
一、球磨机设备解析
1.1构造与种类
磨机核心由筒体(碳钢或不锈钢材质)、研磨介质(钢球、陶瓷球、氧化锆球)、进料 / 出料装置、传动系统(含电机、减速机)及衬板(高锰钢、橡胶、陶瓷)等检测辅件组成。根据运行方式分为:

1.2材质优缺点

二、砂磨机设备解析
2.1构造与种类
砂磨机主要由研磨腔(氧化锆、碳化硅内衬)、分散盘(陶瓷或硬质合金材质)、研磨介质(玻璃珠、氧化锆珠)、冷却系统(夹套水冷)及分离装置(离心式或筛网式)等检测辅件组成。按结构分为:

2.2材质优缺点

三、球磨机按卸料方式分类
3.1格子型卧式球磨机

结构特点:出料端设有格子板,板上有倾斜的格子孔,可阻挡研磨介质并强制排出物料。
工作原理:物料通过格子板时被进一步筛选,避免过磨,卸料速度快。
应用场景:适用于粗磨或处理粒径较大的物料,如矿山选矿的第一段磨矿、水泥原料的粗碎
3.2溢流型卧式球磨机

结构特点:出料端无格子板,物料通过筒体旋转产生的溢流效应排出
工作原理:物料在筒内停留时间长,研磨更充分,成品粒度均匀。
应用场景:适合细磨作业,如选矿的第二段磨矿、化工颜料的细化、陶瓷原料的精磨。
四、其它类型球磨机
4.1按研磨介质与物料接触方式分类

4.2按筒体结构与功能分类

4.3按研磨介质材质分类

4.4按传动方式分类

4.5按应用领域特殊类型

五、砂磨的类型

还有盘棒式已经迭代了。
5.1按研磨筒的布置形式分类

5.2按筒体容积大小分类

5.3按介质分离方式分类

六、研磨球的相切参数

6.1砂磨机锆球填充量

6.2球磨机锆球填充量

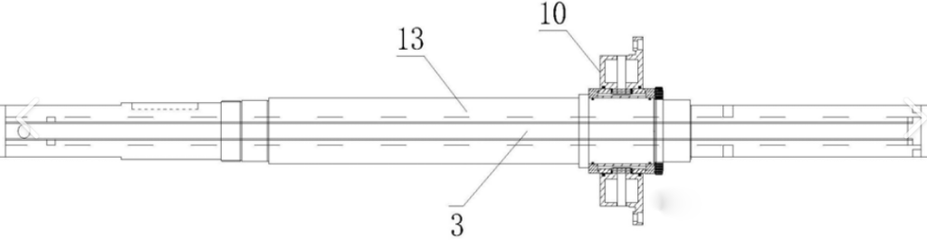
七、机封装置
7.1、机械密封(机封) 是卧式砂磨机的关键部件,主要用于:
防泄漏:阻止研磨介质(锆球)、物料外溢及外界杂质侵入;
保压力:维持筒体内研磨压力稳定,避免因泄漏导致研磨效率下降;
护设备:防止润滑油渗入物料或物料腐蚀搅拌轴轴承



7.2工作原理
密封形成:动环在弹簧力作用下与静环紧密贴合,形成 轴向密封面(摩擦副),阻止介质沿轴向外漏;
压力平衡:机封内侧承受筒体内物料压力,外侧通过弹簧力或外接冲洗液压力平衡,确保密封面比压稳定;
动态补偿:磨损后弹簧自动推动动环前移,维持密封面贴合精度(补偿量通常≤2mm)。
卧式砂磨机机封的性能直接影响设备的密封性、可靠性和使用寿命。选择合适的机封类型(单 / 双端面)、匹配物料特性与工况参数,并落实定期维护,可有效降低泄漏风险,提升研磨效率。对于高要求场景(高压、高粘度、含颗粒),双端面机封 + 自动冲洗系统是更优方案。
八、球磨机与砂磨机未来的发展与展望

球磨机与砂磨机的未来发展,本质是效率、精度、成本与可持续性的多维博弈。砂磨机将以智能化、纳米化、清洁化为核心,在新能源与高端制造领域持续突破;球磨机则以大型化、节能化、资源化为方向,巩固传统行业主导地位并拓展新兴应用。两者在技术路径上分化,但在产业生态中协同,共同推动全球研磨技术向绿色、智能、高效的终极目标迈进。对于企业而言,把握政策红利、深耕细分市场、强化核心部件研发,将是在激烈竞争中突围的关键。
